Descargar este artículo en formato PDF
García, Edgar Vinicio
1997 Excavaciones en el acceso a la Terraza 3, Tak´alik Ab´aj. En X Simposio de Investigaciones Arqueológicas en Guatemala, 1996 (editado por J.P. Laporte y H. Escobedo), pp.171-193. Museo Nacional de Arqueología y Etnología, Guatemala (versión digital).
16
EXCAVACIONES EN EL ACCESO A LA TERRAZA 3,
TAK´ALIK AB´AJ
Edgar Vinicio García
El sitio arqueológico Tak´alik Ab´aj está localizado en el municipio de El Asintal, Retalhuleu, a una distancia de 184 km al suroeste de la ciudad de Guatemala, altitud de 660 m SNM y posee un área de aproximadamente 9 km² (Figura 1); el sitio fue reconocido por primera vez en 1888 por Gustav Bruhl, luego investigado por Karl Sapper en 1894, Walter Lehmann en 1925, Eric Thompson en 1942, Tatiana Proskouriakoff en 1950, Suzanne Miles en 1965 quién lo nombró Tak´alik Ab´aj, Lee Parsons en 1972 y por último, John Graham, quién realizó investigaciones arqueológicas por parte de la Universidad de Berkeley (1976-1981).
Más tarde, en el año de 1987, el Proyecto Nacional Tak´alik Ab´aj realiza investigaciones en la parte sur del grupo central, las cuales continúan al presente año, dichas investigaciones comprende excavaciones dirigidas en el acceso a la Terraza 3 y Estructura 10, mientras en las 11 y 12 se realizan trabajos de restauración, a su vez se efectúa el levantado de estelas y se realiza el fechamiento del material cerámico proveniente de las excavaciones.
Por otro lado, también se ha llevado a cabo trabajos de mapeo de cuadrantes por medio de brechas, nivelación (determinación de alturas), elaboración de curvas de nivel en la parte norte de las 11 manzanas que comprende el parque Tak´alik Ab´aj (García s.f.a y b) y excavación dirigida en el acceso a la Terraza 3 (Figura 2) que es la información que ahora se expone.
MEDIO AMBIENTE
La zona de vida de esta región es de bosque muy húmedo subtropical (cálido) siendo la más extensa en Guatemala cubriendo en la Costa Sur una franja de 40 a 50 km de ancho que viene desde México hasta los departamentos de San Rosa, Izabal, norte de Alta Verapaz, Quiché, parte de Huehuetenango y sur de Petén, la superficie total de esta zona de vida es de 40,700 km² lo que representa el 37.41% de la superficie del país.
El régimen de lluvias es de mayor duración; por lo que influyen grandemente en la composición florística y en la fisonomía de la vegetación, el patrón de lluvias varía entre 2136 y 4327 mm promediando entre 3284 mm de precipitación anual, su biotemperatura va de 21° a 25° y la evapotranspiración potencial puede estimarse en promedio de 0.45.
Los terrenos de esta zona de vida son de topografía desde plana hasta accidentada, la elevación varía desde 80 y 1600 m SNM; la vegetación natural es una de las más ricas en su composición florística y podemos citar como indicadoras corozo, volador, conacaste, puntero, mulato, palo blanco y chaperno (De La Cruz 1982:22-23).
En las investigaciones de campo 1996 se consideraron entre los objetivos de excavación el conocer los rellenos constructivos y primeros asentamientos del acceso a la Terraza 3, determinar rasgos arquitectónicos de la fachada de acceso a la Terraza 3, conocer la existencia de escultura en el frente de la fachada de acceso a Terraza 3 y, por último, determinar la cronología, función y acceso dentro del Grupo Sur-Central.
INVESTIGACIÓN DE LOS FOGONES DEBAJO DEL ACCESO A LA TERRAZA 3
Las áreas de actividad Preclásico Medio localizadas durante el transcurso de la presente investigación (Figuras 3 y 4) se hallan en un área de aproximadamente 300 m², suponiendo grupos de personas asentadas sobre la remodelación del suelo estéril, el cual fue cortado 2.50 m de profundidad siendo ésta la evidencia de los primeros asentamientos (Figura 4) previos a la construcción del acceso a Terraza 3, es decir de las sociedades primigenias del sitio las que utilizan lomos de tierra que los aísla de las inundaciones o corrientes de agua; es de mencionar que la excavación realizada a 12 m al norte presenta una depresión bastante pronunciada que evidenció que el corte o remodelación del terreno se extendía hacia el norte, así como al oeste, este y sur.
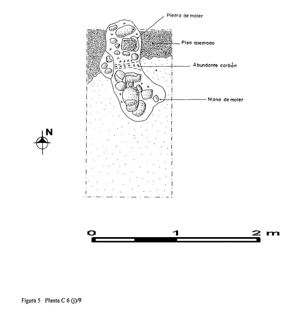
Posteriormente, los cortes fueron sellados por rellenos culturales colocando otros fogones (Figuras 5, 6 y 7) o áreas de actividad y luego sellados por pisos de barro cocido donde colocan vasijas fragmentadas o matadas, dentro de las cuales se deposita obsidiana, todo ésto asociado a gran cantidad de fragmentos cerámicos que incluye vajillas de pastas gruesas para el almacenaje de líquidos y alimentos, así como cerámica elitista Glossy Naranja y Negro, además de navajas y lascas de obsidiana, piezas líticas que incluye manos, piedras de moler y pulidores, todo esto asociado a abundante carbón dentro de gruesos niveles estratigráficos indicando una larga ocupación (Figura 8), de mayor tamaño para tiempos del periodo Preclásico Tardío, por último concluye con la planificación y edificación de rellenos (Figura 3) que conforman el acceso a Terraza 3, donde son observables gruesos estratos constructivos con abundante material cultural.
A su vez, también son notorias concentraciones de barro cocido entre los cambios de rellenos culturales, pareciendo indicar la presencia de fuego para la preparación de comida o bien la práctica de algún tipo de actividad durante los trabajos de construcción del acceso a la Terraza 3, los cuales son notorios en diferentes partes a lo largo de la investigaciones realizadas.
INVESTIGACIONES EN LA FACHADA DEL ACCESO A LA TERRAZA 3
Los sondeos arqueológicos partieron al determinar una distancia media entre el Monumento 5 (Estela «Ralda») y Altar 8 localizados en la fachada oeste de la Estructura 12; esta estela que posee fecha calendárica del baktun 8 corresponde al año 126 DC del periodo Preclásico Tardío, mientras al oeste de dicho edificio se localiza la Estructura 11 que en su fachada este evidencia diseminado en plaza un trono denominado Altar 9 (Figura 2), también se tomó en cuenta el Altar 28 localizado en la fachada oeste de la Estructura 10 y la Estela 27 localizada en la fachada este de la Estructura 9, es decir que de allí se efectuó vista hacia el norte (fachada de acceso a Terraza 3), donde se trazó una trinchera (11 X 1 m) que asciende hacia la cima y que pretende localizar rasgos arquitectónicos, estelas o monumentos; para el efecto se procedió a retirar la arena que fue depositada por la erupción de 1902 del volcán Santiaguito, la que alcanza entre 40 a 50 cm de grosor.
Es de mencionar que el patrón de hallazgo de los monumentos encontrados en las fachadas de las estructuras de Tak´alik Ab´aj investigadas anteriormente demuestra ser de 7 y 13 m (Estructuras 9, 10, 11, 12 y 13), por lo que se decidió trazar pozos a 7, 14 y 21 m, excavaciones que resultaron negativas, dado que el acceso a la Terraza 3 rompe con dicho patrón.
Las investigaciones realizadas demuestran que el acceso a la Terraza 3 evidencia una fachada de tres y cuatro hiladas de piedra bola basáltica con aglutinante de barro (Figura 9); este muro en regular estado de conservación se halla flanqueado por dos escalinatas salientes, la central y la segunda denominada este (Figuras 10 y 11), las que se hallan separadas entre sí por una distancia de 14.5 m, medida similar al ancho de la escalinata central que es de 14.3 m (Figura 12); la arquitectura ahora mencionada se halla adosada a un piso sobre el terreno natural previamente nivelado, dicho muro se desplaza a lo largo de toda la fachada del acceso a la Terraza 3 sobre 24 m este-oeste.
La escalinata central que está constituida aparentemente de cuatro escalones (Figura 10), tuvo originalmente 14.30 m, posteriormente fue modificada en su lado este acortándola a 13 m donde se halló la nueva esquina (piedra esquinera) y un agujero intrusivo tallado en el suelo natural que posee 20 cm de diámetro y en su circunferencia fue colocada piedra pequeña (15-20 cm), adentro se evidenció un relleno de barro café obscuro revuelto con cerámica, obsidiana y pequeñas trazas de carbón no así ofrenda alguna.
Mientras en el lado este la escalinata central mostró trabajos de modificación arquitectónica, similar actividad también sucedió al oeste, donde originalmente tuvo 11 m fue alargada 3.30 m para alcanzar 14.30 m, a partir de este nuevo adosamiento es notable cómo la línea del primer escalón continuó con piedra pequeña (25-20 cm) y luego agregando un muro de 90 cm de alto que se desplaza hacia el oeste y que termina donde se evidenció la esquinera de la saliente oeste.
Por otro lado, la fachada del acceso a la Terraza 3 muestra enfrente dos hiladas de piedra que constituyen adosamientos posteriores (Figura 12), los que se hallan delante y a la par de los Monumentos 100, 107, 108 y 109, estas hileras igualmente fueron realizadas por las sociedades tardías del complejo Ixchiya del periodo Preclásico Tardío.
Al frente de la escalinata central fue colocado el Monumento 108 al centro (Figuras 9, 12 y 13), que consiste de un altar, flanqueado hacia el lado este por el Monumento 100 (Figuras 9, 12 y 14) que representa un personaje antropomorfo en posición sentada, con sus manos sobre su vientre similar a los barrigones diagnósticos del estilo Olmeca del periodo Preclásico, mientras hacia el lado oeste se evidencia el Monumento 109 (Figuras 9, 12 y 15) que consiste de una representación antropomorfa; detrás del altar y sobre el cuarto escalón en el eje radial de la escalinata fue colocado el Altar 30 (Trono Santa Margarita) que consiste de un trono tetrápode (Figuras 9, 12 y 13) tallado en bajo y alto relieve (1.34 m x 97 cm x 46 cm x 28 cm), éste trono es similar a los aparecidos en los Grupos B y F durante las investigaciones realizadas en Izapa (Lowe, Lee y Martínez 1982), es de mencionar que «tronos y figuras repetitivas como la representada al costado de la Estela 5 son fechados por rasgos escultóricos que nos aporta una fecha Arenal Tardío similar a los tronos encontrados en Kaminaljuyu e Izapa» (Kaplan 1995).
El trono ahora localizado representa un personaje bastante erosionado donde son observables sus brazos levantados, en sus muñecas son notorias cuentas y debajo de los brazos plumaje, al centro «una cola que hace pensar en el pájaro Muan o pájaro serpiente, deidad principal del inframundo en la cosmología Maya» (López, comunicación personal), en la esquina superior izquierda probablemente se hallaba un cartucho glífico totalmente deteriorado; de mencionar es el regular estado de conservación del tallado de su superficie de la parte baja del trono, probablemente debido al constante uso que se le dio; otro trono similar es el trono fragmentado tetrápode sin talla aparecido a 80 m al sur, frente de la estructura 11 y denominado Altar 9, así como la representación lateral de la Estela 5 en la plaza Sur-Central. El citado Altar 30 (Trono Santa Margarita) fue colocado modificando la línea que conforma la cuarta grada y colocando el trono a manera de reminiscencia o ritual luego de la posible muerte del gobernante.
Algo notorio es que en el eje radial, la escalinata central presenta un descanso para ascender en cuerpos adosados a muros en talud los cuales deberán seguir aún siendo investigados.
Entre las dos escalinatas (Central y Este) se halló el Monumento 107 (Figuras 9, 12 y 16) a 15.90 m del eje radial de la escalinata central y detrás se observa el muro de fachada en buen estado de conservación, algo notable del Monumento 107 es que detrás a la altura de la espalda se hallan piedras que hace suponer que fue sellado, mientras al frente es observable una acumulación de piedra que supone tratarse del último adosamiento (Figura 12) que viene desplazándose irregularmente por cerca de 30 m (este-oeste), éstas hileras de piedras pasan al lado y al frente de los Monumentos 100, 107, 108 y 109, lo que hace pensar que estos muros fueron adosados para tiempos tardíos del periodo Preclásico Tardío, algo notorio es que a lo largo de la fachada se evidencia dentro del estrato de barro café obscuro presencia cerámica de los periodos Clásico Temprano, Clásico Tardío hasta el Postclásico Temprano (Castillo y Del Águila, s.f.), demostrando con esto una larga presencia humana a través del tiempo y como claro testimonio de la importancia de dicho acceso con respecto al grupo Central y Sur-Central.
Hacia el este de la escalinata central (21 m), la fachada del acceso evidenció la escalinata este (Figuras 9, 11 y 17), la que presenta las subestructuras denominadas Terraza 3 sub-1, 2, y 3, la que al investigar la Terraza 3 sub-1 consiste de una edificación con utilización de piedra pequeña (20, 25 y 30 cm) que se desplaza hacia el este y presenta una orientación de 108° Azimut, dicha construcción mostró encima un relleno a manera de piso que la sella, a su vez se hallaron fragmentos grandes de barro cocido con apariencia de taxcal (hidróxido de hierro), producto de presencia humana dedicada a tareas artesanales para tiempos posteriores, inferencia atribuida a la abundante cantidad de material cerámico del periodo Preclásico Tardío y Clásico asociado a fragmentos de navajas y desechos de obsidiana, donas, raquetas y fragmentos de piedras de moler en los alrededores de la escalinata este y las subestructuras asociadas.
De mencionar es que en la esquina este de la Terraza 3 sub-1 fueron colocados tres fragmentos de una misma escultura, lo que supone algún tipo de actividad planificada, así como por la presencia de barro cocido, sugiriendo que dichos espacios fueron expuestos a fuego como una actividad de quema intencionada al inicio de ésta o las posteriores edificaciones, es decir a la construcción de la Terraza 3 sub 2 y 3.
Así también la esquina oeste de la escalinata este de Terraza 3, también evidencia la esquina de la Terraza 3 sub-1 y 2, las cuales se dirigen hacia el norte (Figura 11), asumiendo que sobre dichas esquinas fue construida la escalinata este (Terraza 3 sub-3) y constituida de piedra más grande (40-50 cm) que las antes citada, la que mostró a la altura del tercer escalón una banqueta que se desplaza al este, más arriba, es observable el muro de fachada chocando con la saliente oeste y continúa formando un muro sobre la escalinata, algo notorio es observar que entre el quinto y sexto escalón posiblemente se halla un segundo muro (cuerpo) que corre hacia el este, mientras en la saliente oeste a la altura del sexto escalón aparentemente se halla un talud que corre hacia el oeste (Figura 11).
Por último, es de agregar que hacia el este, a 13.50 m, se halló un agujero de poste de 35 cm de diámetro el cual se halla tallado en el suelo natural, dentro del cual se localizó material cerámico y pequeñas trazas de carbón.
Por otro lado la parte Este de la fachada de acceso a la Terraza 3 presentó grandes cantidades de cerámica que incluye vajillas de pastas gruesas propias para el almacenamiento de alimentos o líquidos, lo que sugiere algún presencia posterior al apogeo de la fachada durante el Preclásico Tardío, así como es notable en algunos pozos de sondeo en la fachada y sobre el acceso a la Terraza 3 construida por las sociedades Ixchiya del periodo Preclásico Tardío, la cual fue siendo visitada para tiempos del Clásico Temprano, Clásico Tardío e incluso hasta el periodo Postclásico Temprano como lo demuestra la evidencia cerámica localizada en su contexto.
INVESTIGACIÓN DE ÁREAS DOMÉSTICAS SOBRE EL ACCESO A TERRAZA 3
La excavaciones realizadas sobre las últimas ocupaciones demostró que dentro de la matriz de barro café obscuro se evidencia una concentración de taxcal con abundante material cultural; este depósito hace pensar en un fogón dada la conformación que presenta, la que al sondear hacia los alrededores evidencia concentraciones y alineamientos irregulares de piedras (norte-sur), los cuales conforman un área de actividad claramente definida, en contexto con abundante material cerámico y lítico (Figura 18).
Otro sondeo adyacente al mojón norte y muy cerca de la Estructura 5 del grupo central, evidenció rellenos posteriores que conforman las nivelaciones de plaza del grupo Central, el que debajo presenta un muro que corre este-oeste que se desplaza 4.20 m asumiendo muros de habitación.
La evidencia encontrada sobre el acceso y Terraza 3 demuestra áreas domésticas que se desplazan por cerca de 20 m norte-sur, donde previamente realizaron nivelaciones del suelo natural para luego asentar muros alineados e irregulares, fogones asociados a piedras y brazos de moler, núcleos, lascas de obsidiana y abundante cerámica, donde son notorios rellenos culturales con tres claros estadios de ocupación, a su vez estos sondeos confirman el comportamiento del suelo natural que asciende de sur a norte hasta ser nivelado demostrando un acomodamiento planificado de las ocupaciones allí presentes (Figura 19).
CONCLUSIONES
Las áreas de actividad del complejo Ixchiya del periodo Preclásico Medio ahora localizadas, testimonian grupos humanos que comparten estrechamente un espacio de ± 300 m² y se hallan relacionadas con las subestructuras ubicadas a 200 m al sur denominadas «Sub 1, 2, 3 y 4» (Schieber 1991), planifican su asentamiento, utilizan cerámica de tipos finos y desarrollan complicadas técnicas en la industria de lascas de percusión casual e instrumentos líticos tales como navajas prismáticas elaboradas de obsidiana, recursos proveniente de las canteras de Pachay Las Lomas en San Martín Jilotepeque, Chimaltenango, El Chayal, Guatemala, Fray Bartolomé Milpas Altas, Sacatepéquez y Tajumulco, San Marcos, materia prima que la mayor parte llegó en forma de macronúcleos (Braswell, s.f.), demostrando con este comercio a larga distancia que supone interrelación cultural producto de un continuo desarrollo.
El acomodamiento de grupos sociales con la modificación de la topografía natural consistente en la nivelación y adaptación del terreno notorio en los pozos de sondeo de los cuadrantes C-6, C-7, D-6 y D-7, responde a la ocupación de fogones de grupos humanos asentados en lomos de tierra que los aísla de corrientes de agua y probablemente se trata de pequeñas áreas destinadas a la preparación de alimentos para los grupos localizados a 200 m al sur, inferencia hecha dada la imposibilidad de localizar al momento arquitectura de barro del Preclásico Medio asociada; es de mencionar que esta ocupación también es localizada a 20 m al norte, indicando que dicha remodelación del terreno natural se extendía hacia los alrededores.
Las excavaciones que se vienen realizando afirman que los primeros pobladores del complejo Ixchiya localizados debajo del acceso a la Terraza 3, son a su vez producto de una continuidad social que para tiempos sucesivos planifican y edifican rellenos arquitectónicos que conforman las sociedades del complejo Nima del periodo Preclásico Tardío, mostrando modificaciones observables en cortes al suelo natural las cuales revelan fogones, así como depositan vasijas fragmentadas asociadas a gran cantidad de material cerámico que incluye fragmentos de vajillas Nima y San Ramón en formas de cántaros y ollas para almacenamiento de alimentos, cuencos y platos en tipos finos Glossy Naranja y Negro provenientes de Salcaja, Quetzaltenango, fragmentos de piezas líticas que incluye brazos de moler y pulidores, malacates y figurillas, suponiendo con esto grupos poblacionales con marcada división del trabajo que incluye especialización y complejidad social, dichas áreas de actividad son posteriormente selladas con pisos de barro cocido, donde construyen encima otros fogones de mayor tamaño asumiendo mayor población y continuidad social; por otro lado, las concentraciones de barro cocido arriba de los fogones parece indicar la persistencia de áreas de actividad o áreas de preparación de comida durante la construcción de las posteriores nivelaciones de la Terraza 3.
Otras ocupaciones para el periodo Preclásico se evidencian en las subestructuras aparecidas en el Edificio 12, 12 sub-1-2-3-4-5 (Balcárcel 1995) y sub-1-2-3-4 en la Terraza 2 (Schieber 1991), indicando con esto una amplia ocupación a lo largo del grupo Sur-Central. Por otro lado, la ubicación de la fachada del acceso a la Terraza 3 demuestra que las sociedades del Preclásico Tardío conservan hacia el sur los mismos patrones de plaza en sus construcciones, dado la orientación simétrica existente entre las escalinatas central y este, así como de los Monumentos 100, 107, 108 y Altar 30, versus el Monumento 5 o «Estela Ralda» y Altar 9 localizados al frente de la Estructura 12, también fechados para el periodo Preclásico Tardío.
De mencionar es que las sociedades del complejo Nima durante el periodo Preclásico Tardío emprenden fuertes tareas constructivas al realizar la fachada del acceso a la Terraza 3, la que presenta una larga ocupación con las primeras manifestaciones arquitectónicas con utilización de piedra evidente con las subestructuras debajo de la Terraza 3 denominadas sub-1-2, que vienen a demostrar una larga ocupación de los grupos humanos allí localizados y que se consolidan con la edificación de la Terraza 3 sub-3 que constituye un muro de fachada ahora expuesto con más de 25 m, que presenta dos escalinatas con remodelaciones y adosamientos, en la que es notoria la presencia de diversas «esculturas en bulto Olmeca tales como figuras de barrigones usualmente humanas, siendo su rasgo definido una barriga prominente, sostenido por ambas manos», altares y la presencia de un trono tallado en bajo y alto relieve (Trono Santa Margarita) insertado sobre la cuarta grada de la escalinata central.
Tronos similares son los encontrados en Kaminaljuyu como el Trono El Incienso, tallado en su superficie y laterales, el trono de E.M. Shook, Estela 10, Monumento 65 y otros (Kaplan 1995), además de los Tronos 1, 2 y 3 localizados en los Grupos B y F durante las investigaciones realizadas en Izapa (Lowe, Lee y Martínez 1982; Norman 1976:251).
No está demás agregar que las recientes investigaciones continúan evidenciando las estrechas relaciones existentes entre Tak´alik Ab´aj, Izapa y Kaminaljuyu, con quienes comparte rasgos culturales además de fuertes nexos comerciales por la obsidiana de las canteras de Pachay Las Lomas en San Martín Jilotepeque y escasamente de El Chayal, Guatemala, para tiempos del periodo del Preclásico Medio, comercio que probablemente se realizaba por medio de los sitios rectores del valle de Chimaltenango (Cerritos Itzapa y El Durazno), sitios que se hallan en el acceso hacia los yacimientos, donde posteriormente durante el periodo Preclásico Tardío-Terminal (Providencia-Verbena-Arenal), Kaminaljuyu probablemente expande el control del comercio de la obsidiana hasta el valle de Chimaltenango donde se evidencia material cerámico (Clase Ozuna Burdo, Clase Café Negro, Clase Villalobos y Clase Mirador Rojo (García 1992), debiendo comerciarla entre la ruta del volcán de Agua y el valle de la Antigua hacia la Bocacosta.
Futuras investigaciones aportarán información para comprender el control político-administrativo ejercido y el nivel ideológico del complejo Nima hacia el grupo Central y Sur-Central de Tak´alik Ab´aj, aunque es bastante evidente considerar que los hallazgos en la fachada del acceso a la Terraza 3 pudieran responder a connotaciones o reminiscencias a las poblaciones del Preclásico Medio del complejo Ixchiya (áreas fogoneras), o que se pretenda revalorar las primigenias poblaciones asentadas debajo del acceso a Terraza 3, siendo para el periodo Preclásico Tardío que se le da mayor importancia al acceso donde son selladas las áreas de actividad y se construye la Terraza 3 con una fachada y escalinatas que dan acceso directo al centro ceremonial Sur-Central, así como al hecho de colocar en el eje radial de la escalinata central un trono, un altar y tres esculturas reafirma dicha importancia política-religiosa, además de la continua presencia humana hasta tiempos del periodo Postclásico Temprano.
REFERENCIAS
Balcárcel Villagrán, Ana Beatriz
1995 Tak´alik Ab´aj: Arquitectura y Simbolismo del Templo 12. Tesis de Licenciatura en Arqueología, Escuela de Historia, Universidad de San Carlos, Guatemala.
Braswell, Geoffrey E.
s.f. Los Artefactos de Obsidiana de Tak´alik Ab´aj, Retalhuleu. Reporte Sobre los Materiales Provenientes de las Excavaciones en el Acceso a la Terraza 3. Guatemala.
De la Cruz, Jorge René
1982 Clasificación de Zonas de Vida de Guatemala a Nivel de Reconocimiento. Ministerio de Agricultura, Ganadería y Alimentación, Instituto Nacional Forestal, Unidad de Evaluación y Promoción, Dirección General de Servicios Agrícolas, Guatemala.
Del Águila, Patricia y Donaldo Castillo
s.f Informes Mensuales de 1996. Informes, Proyecto Nacional Tak´alik Ab´aj, Ministerio de Cultura y Deportes, Instituto de Antropología e Historia, Guatemala.
García García, Edgar Vinicio
1992 Reconocimiento Arqueológico de las Tierras Altas Centrales de Chimaltenango. Tesis de Licenciatura, Area de Arqueología, Escuela de Historia, Universidad de San Carlos, Guatemala.
s.f.a Informes Mensuales Agosto-Diciembre de 1994. Informes, Proyecto Nacional Tak´alik Ab´aj, Ministerio de Cultura y Deportes, Instituto de Antropología e Historia, Guatemala.
s.f.b Informes Mensuales de 1996. Informes, Proyecto Nacional Tak´alik Ab´aj, Ministerio de Cultura y Deportes, Instituto de Antropología e Historia, Guatemala.
Kaplan, Jonathan
1995 El Trono Incienso y otros Tronos de Kaminaljuyu, Guatemala. En VIII Simposio de Investigaciones Arqueológicas en Guatemala, 1994 (editado por J.P. Laporte y H.L. Escobedo):353-361. Museo Nacional de Arqueología y Etnología, Guatemala.
Lowe, Gareth W., Thomas A. Lee, Jr. y Eduardo Martínez
1982 Izapa: An Introduction to the Ruins and Monuments. Papers of the New World Archaeological Foundation, No.31. Provo.
Miles, Susanne W
1965 Sculpture of the Guatemala-Chiapas Highlands and Pacific Slopes, and Associated Hieroglyphs. En Handbook of Middle American Indians, Vol.2, pp.237-275. University of Texas Press, Austin.
Norman, V. Gareth
1976 Izapa Sculpture, Part II: Text. Papers fo the New World Archeological Foundation, No.30. Brigham Young University, Provo.
Parsons, Lee A.
1972 Iconographic Notes on a New Izapan Stela from Tak´alik Ab´aj, Guatemala. Ponencia, 40th. International Congress of Americanists.
Proskouriakoff, Tatiana
1950 A Study of Classic Maya Sculpture. Carnegie Insstitution of Washington, Pub.593. Washington, D.C.
Schieber de Lavarreda, Christa
1991 Tak´alik Ab´aj: Un Caso de Arquitectura de Barro del Preclásico Medio. Tesis de Licenciatura en Arqueología, Escuela de Historia, Universidad de San Carlos, Guatemala.
Figura 1 Área de investigación
Figura 2 Parque Nacional Tak´alik Ab´aj
Figura 3 Acceso a Terraza 3
Figura 4 Planta C 7 a (e)/9-10
Figura 5 Planta C 6 (j)/9
Figura 6 Planta C 7 a (e)/9
Figura 7 Planta C 7 a (e)/9, TR-3
Figura 8 Planta C 7 a (e)/7
Figura 9 Acceso a Terraza 3
Figura 10 Escalinata central
Figura 11 Escalinata Este
Figura 12 Acceso a Terraza 3
Figura 13 Acceso a Terraza 3
Figura 14 Fachada de acceso a Terraza 3
Figura 15 Acceso a Terraza 3
Figura 16 Acceso a Terraza 3
Figura 17 Acceso a Terraza 3
Figura 18 Acceso a Terraza 3
Figura 19 Acceso a Terraza 3




















